- Фильтры-грязеуловители вертикальные ФГВ-80 Ду 80 мм
- Фильтры-грязеуловители вертикальные ФГВ-100 Ду 100 мм
- Фильтры-грязеуловители вертикальные ФГВ-150 Ду 150 мм
- Фильтры-грязеуловители вертикальные ФГВ-200 Ду 200 мм
- Фильтры-грязеуловители вертикальные ФГВ-250 Ду 250 мм
- Фильтры-грязеуловители вертикальные ФГВ-300 Ду 300 мм
- Фильтры-грязеуловители вертикальные ФГВ-350 Ду 350 мм
- Фильтры-грязеуловители вертикальные ФГВ-400 Ду 400 мм
- Фильтры-грязеуловители вертикальные ФГВ-500 Ду 500 мм
- Фильтры-грязеуловители вертикальные ФГВ-600 Ду 600 мм
- Фильтры-грязеуловители вертикальные ФГВ-700 Ду 700 мм
- Фильтры-грязеуловители вертикальные ФГВ-800 Ду 800 мм
- Фильтры-грязеуловители вертикальные ФГВ-1000 Ду 1000 мм

Фильтр ФГВ
цена от
296 800 руб.
Завод ООО «УЗСК» – один из лидеров в сфере промышленного оборудования в России, специализирующихся на производстве высокотехнологичных фильтров-грязеуловителей вертикального типа ФГВ. Продукция соответствует строгим стандартам ОТТ-75.180.00-КТН-179-10 ОАО «АК»Транснефть», ГОСТ 33368-2015 и ГОСТ 34347-2017. Наши решения гарантируют эффективную очистку нефти и нефтепродуктов от механических примесей, посторонних предметов, парафино-смолистых отложений и окалины на объектах нефтеперекачивающих станций (НПС), магистральных нефтепроводов и нефтепродуктопроводов.
Ключевые преимущества фильтров ФГВ от ООО «УЗСК»
- Соответствие ГОСТ 33368—2015: Надежность и безопасность
Фильтры-грязеуловители ФГВ разработаны с учетом требований межгосударственного стандарта, что подтверждает их соответствие высочайшим критериям качества.
- Рабочие параметры:
- Давление: до PN 6,3 МПа.
- Диаметр: до DN 1000.
- Температурный диапазон: от -20°C до +80°C.
- Точность фильтрации: от 0,2 мм до 12,5 мм (адаптировано под тип нефтепродуктов).
- Универсальность применения
Фильтры ФГВ используются в различных сегментах нефтяной отрасли:
- Нефтеперекачивающие станции (НПС). Защита насосов от абразивных частиц и засорения.
- Магистральные нефтепроводы. Очистка потоков на протяженных участках.
- Нефтебазы и хранилища. Подготовка нефтепродуктов перед отгрузкой.
- Транспортировка бензина, дизеля, мазута. Обеспечение чистоты топливных смесей.
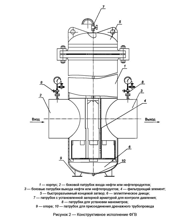
- Инновационная конструкция
- Вертикальный корпус с эллиптическим днищем для равномерного распределения нагрузки.
- Быстроразъемный затвор для оперативного обслуживания.
- Опция самоочистки: автоматическое удаление загрязнений без остановки потока.
- Патрубки для контроля давления, дренажа и манометров.
Технические характеристики фильтров ФГВ (ГОСТ 33368—2015)
- Среды: нефть, дизель, бензин, мазут, масла.
- Пропускная способность: до 7000 м³/ч (зависит от DN).
- Перепад давления:
- Минимум: 0,03 МПа.
- Максимум: 0,05 МПа.
- Климатика: У1, ХЛ1 (умеренный и холодный климат).
- Сейсмостойкость: до 9 баллов (MSK-64).
- Срок службы: 30 лет.
Комплектация:
- Фильтр в сборе.
- Два манометра класса 0,6 (опционально).
- ЗИП (запасные части) (опционально).
- Электропривод для моделей с самоочисткой (опционально).
Самоочищающиеся фильтры ФГВС: Автоматизация и эффективность
Для объектов с повышенными требованиями к бесперебойности (например, нефтепроводы Транснефть или НПС Роснефть) ООО «УЗСК» предлагает самоочищающиеся модели ФГВС.
Особенности конструкции:
- Механизм самоочистки:
- Вращающаяся чашка с электроприводом (380 В, IP54).
- Центробежная сила отделяет примеси, выводя их через дренаж.
- Активация при перепаде давления 0,05 МПа.
- Герметичность: Сальниковый узел сохраняет целостность при высоком давлении.
- Ресурс: 1500 циклов открытия/закрытия.
Преимущества:
- Снижение затрат на обслуживание на 30–40%.
- Минимизация простоев (очистка в режиме реального времени).
- Совместимость с вязкими средами (мазут, парафинистая нефть).
Примеры внедрения фильтров ФГВ
- НПС в Западной Сибири:
- ФГВС DN 800 с самоочисткой обеспечили бесперебойную транспортировку высокопарафинистой нефти.
- Результат: Сокращение аварийных остановок на 25%.
- Нефтебаза в Нефтеюганске:
- Установка ФГВ DN 300 для очистки дизельного топлива.
- Эффект: Повышение качества продукции и снижение рекламаций.
- Магистральный нефтепровод «Транснефть»:
- Внедрение ФГВС DN 1000 снизило затраты на обслуживание на 35% благодаря автоматизации.
Почему ООО «УЗСК» — лучший выбор?
- Полный цикл производства:
- От проектирования в собственном конструкторском бюро до испытаний на гидростенде (50 МПа).
- Лаборатория НК: УЗК, радиография, цветная дефектоскопия.
- Индивидуальные решения:
- Разработка фильтров под спецификации заказчика (материалы, размеры, параметры).
- Логистика «под ключ»:
- Доставка по РФ, ЕАЭС, СНГ с сопроводительной документацией.
- Гарантии и сертификаты:
- Соответствие ТР ТС 010/2011.
- Гарантия от 12 месяцев.
- Опыт и репутация:
- Многие годы на рынке.
- Партнерство с Транснефтью, Роснефтью и другими лидерами отрасли.
Расшифровка маркировки
ФГВ(ФГВС)-Ду-Ру-С0(С,ПС)-Т-УХЛ1, где
- ФГВ (ФГВС) – фильтр-грязеуловитель вертикальный (ФГВС — с самоочищающим устройством)
- Ду – диаметр условного прохода (отвода/подвода среды), мм
- Ру – рабочее давление, МПа
- С0 (С,ПС) – исполнение по сейсмостойкости
- Т – указывается при необходимости теплоизоляции
- УХЛ1 (У1, ХЛ1) – климатическое исполнение по ГОСТ 15150
Например, фильтр-грязеуловитель вертикальный ФГВ номинальным диаметром DN 800 на номинальное давление PN 1,6 МПа, в несейсмостойком исполнении СО по MSK — 64 [10], подлежащий теплоизоляции, вид климатического исполнения У1 по ГОСТ 15150 будет обозначаться следующим образом: ФГВ-800-1,6-С0-Т-У1.
А самоочищающийся фильтр-грязеуловитель вертикальный ФГВ номинальным диаметром DN 1200 на номинальное давление PN 2,5 МПа, в несейсмостойком исполнении СО по MSK — 64 [10], подлежащий теплоизоляции, вид климатического исполнения ХЛ1 по ГОСТ 15150 будет обозначаться: ФГВС-1200-2,5-С0-Т-ХЛ1.
Закажите фильтры ФГВ уже сегодня!
ООО «УЗСК» предлагает:
- Бесплатную консультацию по подбору модели.
- Шеф-монтаж и пусконаладочные работы.
- Поддержку на всех этапах сотрудничества.
Чистота продукта — стабильность ваших процессов!
Оставьте заявку на сайте, и наши специалисты подготовят КП в течение суток.
Заполните форму заказа






